Bracket, Pulley & Belt |
- Parts > Mazda PREMACY > 1999-03 > Diesel-engine Supplement > Bracket, Pulley & Belt
- Search by part number:
-
Bracket, Pulley & Belt(diesel)
-
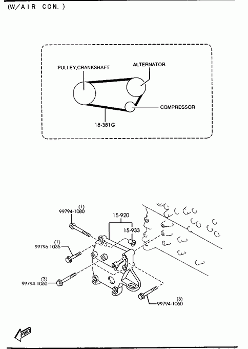
» 15920 BRACKET,COMPRESSOR Part Number Qty. Specifications Price RF2A15810 1 AN (RF2A-15-810A)
W/AIR CON.
- 010101
CP19** -160522€ 152,19 RF2A15810A 1 W/AIR CON.
010101 -
CP19**160522-€ 158,33 » 15933 COLLAR,COMP.BRKT Part Number Qty. Specifications Price 852015927 1 W/AIR CON. € 10,03 RF2L15933A 1 W/O AIR CON. € 5,38 » 18381G BELT'V',ALTERNAT.& AIRCON Part Number Qty. Specifications Price RF1S18380A 1 L=1040MM X2 V BELT
W/AIR CON.€ 14,63 » 90780 BOLT Part Number Qty. Specifications Price 997941060 1 € 2,24 » 90780 BOLT Part Number Qty. Specifications Price 997941080 1 € 2,75 » 99756 BOLT,FLANGE Part Number Qty. Specifications Price 997961035 1 € 2,69

