|
- Parts > Mazda MX-5 > 1992-08 > Body Interior Trim > Seat Belts
- Search by part number:
-
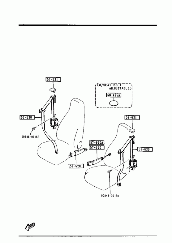
Seat Belts
-
» 57620 BELT'A',FRONT SEAT Part Number Qty. Specifications Price NA0157620 2 FOR RIGHT & LEFT
W/O SEAT BELT ADJUSTABLE
- 930301
NA18** -133597NA0157620A 2 FOR RIGHT & LEFT
W/O SEAT BELT ADJUSTABLE
930301 -
NA18**133232-
NA18**133597-» 57630 BELT'B',FRT SEAT Part Number Qty. Specifications Price NA1357630 2 » 57631 COVER,ANCHOR Part Number Qty. Specifications Price NA0157631B 2 » 57920A BELT'A'(L),FRT SEAT Part Number Qty. Specifications Price NA1257680 1 W/SEAT BELT ADJUSTABLE » 68425A COVER,HOLE Part Number Qty. Specifications Price LA0157425A 1 W/SEAT BELT ADJUSTABLE € 1,76 » 90786 SCREW & WASHER,TAPPING Part Number Qty. Specifications Price 908450616B 1 € 1,41

